mLED微間距低溫封裝錫膏錫膠深圳福英達分享:不一樣的LED技術-特斯拉燈光技術解密
mLED微間距低溫封裝錫膏錫膠深圳福英達分享:不一樣的LED技術-特斯拉燈光技術解密
錫膏_焊錫膏_超微焊料_助焊膏生產商-深圳福英達是一家集錫膏、錫膠及合金焊粉產、銷、研與服務于一體的綜合型錫膏供應商, 是工信部焊錫粉標準制定主導單位,產品涵蓋超微無鉛印刷錫膏,超微無鉛點膠錫膏,超微無鉛噴印錫膏,超微無鉛針轉移錫膏,超微無鉛免洗焊錫膏,超微無鉛水洗錫膏,高溫焊錫膏,中高溫焊錫膏,低溫焊錫膏,7號錫膏、8號錫膏,低溫超微錫膠,中高溫錫膠,各向異性導電膠,金錫錫膏,金錫錫粉,多次回流錫膏,激光錫膏,微間距助焊膠,高溫無鉛錫膏,低溫錫鉍銀錫膏,低溫高可靠性錫膏,無鉛焊膏錫鉍銀錫膏/膠,SAC305錫膏,低溫高可靠性錫膏&錫膠,無銀&錫銅錫膏,超微焊粉,Low alpha無鉛焊料,Low alpha高鉛焊料,SMT粉,定制焊料。擁有從合金焊粉到應用產品的完整產品線,可制造T2-T10全尺寸超微合金焊粉的電子級封裝材料。

2021年12月24日,特斯拉為車主們推出重磅更新,車機v11全新UI和FSD Beta V10.8版本,更新后車主驚喜發現增加了燈光秀功能,其中前大燈打出“TESLA”的圖案時,讓人甚為驚嘆。一部分原因是此前特斯拉并未在宣傳中強調此事,讓人看到此種情形,瞬間驚喜萬分;另外一部分原因是,不管是矩陣式LED大燈還是激光大燈,基本是“燈廠”-奧迪的噱頭,由于成本高昂,加裝費用不菲,離普通消費者還比較遙遠,而特斯拉在二三十萬起步的Model3和ModelY車型中標配,應該說是比較良心的。與朋友圈中的熱鬧展示相反的是,特斯拉行事如此低調,讓人覺得此事絕非簡單。
筆者從事LED行業多年,出于技術上的好奇,通過多方查證相關公開資料,希望能還原了特斯拉前大燈光源的技術路線。

TESLA大燈效果
公開資料顯示,特斯拉的車大燈由德國著名零配件供應商HELLA制造,其中發光單元的供應商為三星電子。
2021年4月,三星半導體發布新一代車載光源 PixCell LED 模組,此產品將應用于汽車的智能大燈。

三星半導體表示,最新研發的 PixCell LED 是適用于車載智能大燈的超小型 LED 解決方案,通過更小的發光面積和明暗對比,可以實現照明控制。
此外,三星的產品將發光面積減少到普通智能大燈的 1/16,使整個燈的體積變小,有助于提高汽車燃油效率,還增加了車燈的設計靈活度。


PixCell LED模組(圖片來源:三星電子官網)
從國內研究機構-車燈研究院發布的拆解分析看,特斯拉確實采用的是三星電子的PixCell LED技術。因此,有必要深挖一下該技術。

特斯拉車大燈拆解光源(圖片來源:車燈研究所)
PixCell LED為了提升顯示效果,防止相鄰光源串擾,每個像素之間設立了硅墻隔板。

PixCell LED(圖片來源:三星電子官網)
從最終的顯示效果看,PixCell LED中的每個像素單元實現了單面出光效果。根據以往的認知,能夠實現這種發光效果的,芯片段主要是薄膜型芯片,例如垂直型薄膜芯片、倒裝型薄膜芯片(TFFC)芯片等;封裝端也可以采用倒裝芯片+CSP(Chip Scale Package)技術,將芯片四周的光通過白墻的遮擋和反射,使得側向光反射到正面,也可以實現單面出光的效果。

錫銀銅SAC錫膏 錫銀銅 SACS錫膏 錫鉍銀SnBiAg錫膏 錫鉍銀銻SnBiAgSb錫膏 錫鉍銀SnBiAgX錫膏 錫鉍SnBi錫膏 BiX 錫膏 金錫AuSn錫膏 錫銻SnSb錫膏 含鉛 SnPb錫膏 各向異性導電錫膠 微間距助焊膠

PixCell LED看起來與CSP技術似乎有類似的地方,不過是用硅墻取代了白墻(鈦白粉等高反射材料),且從宣傳的示意圖看,硅墻高度更高、熒光膜在硅墻上并沒有覆蓋。這種設計,實際是減少了像素串擾,提高了像素的分辨率。
為了進一步弄清PixCell LED是如何實現的,我們多方查詢,最終查詢到了三星最近公開的一件專利:
公開專利號:US17373038
專利名稱:LIGHT-EMITTING DEVICES HEADLAMPS FOR VEHICLES AND VEHICLES INCLUDING THE SAME
該專利詳細介紹了PixCell LED核心發光器件的基本設計理念:
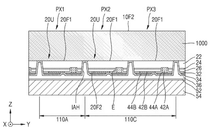
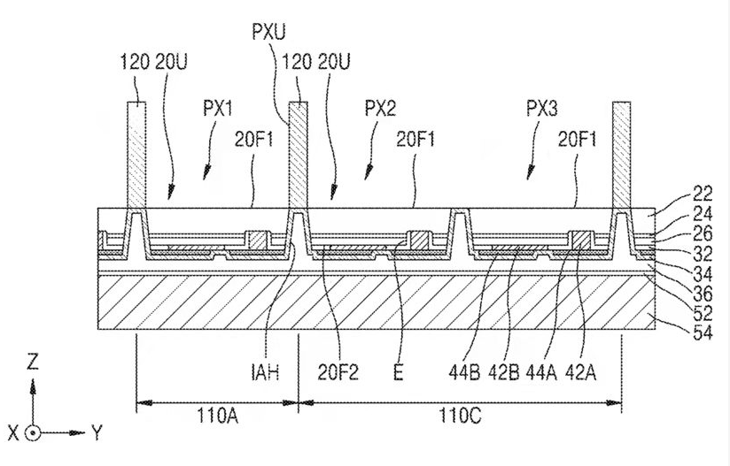
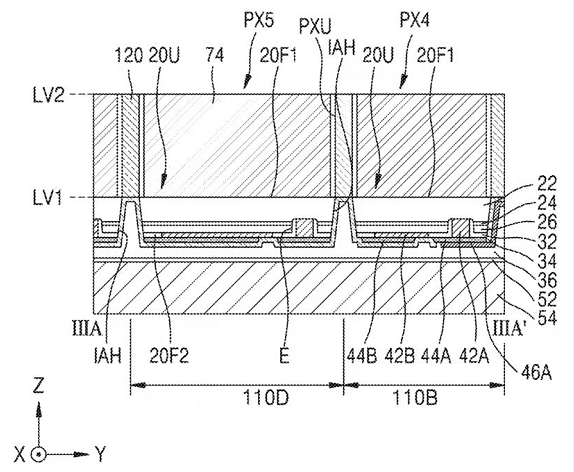
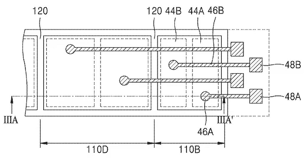
基本設計思路采用倒裝薄膜芯片技術(TFFC)以及晶圓級封裝(WLP)理念。

硅襯底1000通過腐蝕形成硅墻120

并在硅墻側壁制作了反光層72

硅墻內填充了光轉材料74,實現了晶圓級封裝

實際TFFC的電極是通過引線引出的,這種設計超越了TFFC的設計范疇,將晶圓級封裝技術又向前推進了一步。

從工藝流程和最終設計看,三星PixCell LED采用的是硅襯底外延工藝,芯片架構采用帶有硅墻的類TFFC結構,通過晶圓級封裝Wafer Level Package(WLP)技術做成白光芯片。
盡管專利中并沒有局限在硅襯底,但實際藍寶石和碳化硅襯底都比較難具備這種襯底選擇性去除的效果,以及硅襯底天然不透明,有利于防止相鄰芯片串光干擾。
該專利呈現的內容具備較高的創新性,可以拓展開發者的視野,該方案對長期從事薄膜芯片開發的從業者來講,實現起來可能并沒有想象中的復雜,但確實比較新穎。當然,要達到車規級,且打入前裝市場,應該是要花不小精力和投入。
與目前比較成熟的藍寶石和碳化硅上氮化鎵外延相比,該方案采用的GaN-On-Si(硅上氮化鎵)外延技術,由于氮化鎵與硅晶格失配較大,導致該技術路線生長的氮化鎵晶體質量較差。晶體質量上的差距在一定程度上會體現到可靠性和性能上。從用戶反饋看,特斯拉車主升級燈光秀后個別存在大燈燒毀的問題,不排除或許與此相關。
從某種意義上講,三星的PixCell LED能夠得到頭部車企的認可,打入汽車前裝市場,對基于硅襯底的GaN-On-Si技術來講,絕對是一個具備里程碑意義的事件。
也許特斯拉事先知道GaN-On-Si技術方案存在一定風險,但確實可以實現更小的發光面積和明暗對比。因此,特斯拉采用該技術符合其一貫的技術驅動的行事風格。
PixCell LED除了采用GaN-On-Si技術外,還結合了Wafer Level Package(WLP)、Thin Film Flip Chip(TFFC)、Drive On Board(DOB)等技術,并將其向前進行了演化和推進。PixCell LED是三星電子在發光芯片領域和半導體領域交叉創新的結晶,其創新視野和創新能力值得國內廠商借鑒和學習。
當然,GaN-On-Si技術不是實現矩陣式LED大燈的唯一途徑,例如以激光剝離技術來實現TFFC芯片,國內乾照光電、三安光電、易美芯光等在薄膜性芯片領域深耕多年,利用成熟的藍寶石激光剝離技術,也可以有對應的方案呈現。且從光效和可靠性方面來講,基于藍寶石激光剝離技術的薄膜芯片會比硅襯底LED技術更加具備優勢。
來源:LEDinside

深圳市福英達20年以來一直深耕于微電子與半導體封裝材料行業。致力于為業界提供先進的焊接材料和技術、優質的個性化解決方案服務與可靠的焊接材料產品。提供包括LED微間距低溫封裝錫膏錫膠、LED微間距中溫高溫封裝錫膏錫膠、LED微間距低溫高強度錫膏錫膠、倒裝芯片封裝焊料、FPC柔性模塊封裝錫膏錫膠、植球/晶圓級植球助焊劑、凸點制作錫膏、PCBA錫膏錫膠、車用功率模塊封裝錫膏錫膠、車載娛樂封裝錫膏錫膠、車用LED封裝焊料、車載MEMS封裝焊料、軌道交通用IGBT封裝錫膏錫膠、基帶芯片系統級封裝錫膏錫膠、存儲芯片高可靠封裝錫膏錫膠、射頻功率器件封裝錫膏錫膠、多次回流封裝錫膏錫膠、物聯網安全芯片封裝焊料、支付芯片系統級封裝焊料、物聯網身份識別封裝焊料、MEMS微機電系統封裝錫膏錫膠、射頻功率器件錫膏錫膠、芯片封裝錫膏錫膠、攝像頭模組封裝專用錫膠、簡化封裝工藝免洗錫膏/錫膠、高可靠性水洗錫膏、低溫高強度錫膏/錫膠、便于返修的錫膏產品、高性價比錫膏方案、高可靠高溫Au80Sn20焊料、高可靠Low alpha 高鉛封裝焊料、高可靠水洗焊料、醫療設備高可靠性封裝錫膏錫膠、醫療設備系統級封裝焊料、復雜結構激光焊接錫膏錫膠、精密結構低溫封裝焊料解決方案。以及mLED新型顯示各向異性導電膠、mLED新型顯示微間距焊接助焊膠、mLED新型顯示高強度細間距錫膠、mLED新型顯示微間距低溫焊料、mLED新型顯示微間距SAC305錫膏、SMT低溫元器件貼裝錫膠、SMT低溫元器件貼裝錫膏、SMTSAC305系列錫膏、SMT微間距助焊膠、Low α無鉛焊料、SiP水洗錫膏、SiP無鉛無銀焊料、Low α高鉛焊料、MEMS水洗激光錫膏、MEMS低溫高可靠性錫膠、MEMS低溫高可靠錫膏、MEMS多次回流焊料、MEMSAu80Sn20金錫焊膏、功率器件高鉛焊料、功率器件水洗錫膏、功率器件無鉛錫膏、功率器件Au80Sn20金錫錫膏解決方案。


返回列表